防火防爆安全技术ppt课件

防火防爆安全技术ppt课件1 防火防爆安全技术ppt课件2 防火防爆安全技术ppt课件3 防火防爆安全技术ppt课件4 防火防爆安全技术ppt课件5 防火防爆安全技术ppt课件6 防火防爆安全技术ppt课件7 防火防爆安全技术ppt课件8 防火防爆安全技术ppt课件9 防火防爆安全技术ppt课件10
试读已结束,还剩70页未读,您可下载完整版后进行离线阅读

文档共有80页,由于篇幅有限,只展示前10页。

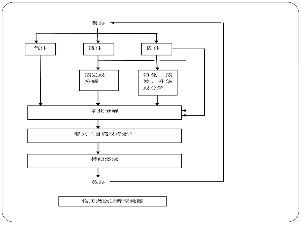
防火防爆技术第一节防火防爆基础知识定义:燃烧是可燃物与助燃物相互作用,同时伴有发光、放热效应的激烈的化学反应。一、燃烧基本概念1.燃烧的定义(1)生成新的物质;(2)发光;(3)放热思考:(1)铁与稀硝酸反应,是不是燃烧?(2)电灯在照明时是否是燃烧?(3)氢气在氯气中反应,是不是燃烧?燃烧特征的是什么?2.火灾的定义定义:在时间或空间上失去控制的燃烧所造成的灾害。指失去控制蔓延成灾的燃烧现象。或指超出有效范围的燃烧。通常造成人员和财产的损失。人员和财产损失较轻时,有时也称火警或未遂火灾事故。3.燃烧发生的必要条件燃烧的三要素(必要条件):可燃物、助燃物、点火源构成火三角:三个基本条件同时具备,并且相互作用(即构成燃烧系统),才能发生。在火灾防治中,阻断火三角的...

防火防爆安全技术ppt课件是由用户上传到202资源网,本次作品主题是PPT课件,素材大小为1.27 MB,素材总共有80页,素材格式为ppt。授权方式为VIP用户下载,成为202资源网VIP用户马上下载此素材。PPT文件完整,下载后可编辑,更多安全教育课件主题素材点击进入。

如需印刷成实物请先认真校稿,避免造成不必要的经济损失。

模板单价:12.00 会员免费
开通会员可免费下载任意模板
  • 页数:80页
  • 大小:1.27 MB
  • 编号:17693
  • 类型:VIP模板
  • 格式:ppt
  • 提示:数字产品不支持退货